
加密世界的“风向变了?”
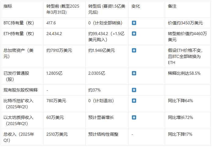
在数字资产的广阔天地中,纳斯达克上市的Bit Digital(BTBT)于2025年6月宣布了一项令市场为之侧目的战略性转变:通过1.5亿美元的公开募股,公司将加速从比特币挖矿业务中退出,全面转向以太坊质押和资金运营。这笔巨额募资将悉数用于购买以太坊(ETH),使其成为迄今为止公开市场上对ETH进行财政承诺规模最大的公司之一。此举并非简单的业务调整,而是一场充满勇气的“豪赌”,Bit Digital将逐步出售或关闭其比特币挖矿业务,并计划将其持有的比特币资产逐步转换为以太坊。截至2025年3月31日,Bit Digital已持有约24,434枚以太坊和418枚比特币,为其未来的“以太坊纯粹主义”奠定了基础。
这一举动不禁令人深思:加密世界的“风向”是否真的变了?比特币曾被视为“数字黄金”,其挖矿业务一度是数字资产领域最热门的掘金地。然而,随着一系列挑战的浮现,以及以太坊生态的日益成熟,Bit Digital的转向或许预示着一场行业深层的结构性变化。
要理解Bit Digital的决策,必须审视2024-2025年加密货币市场的宏观背景。尽管比特币价格在2025年初突破10万美元大关,但比特币挖矿行业内部却面临前所未有的结构性挑战。2024年4月的比特币“减半”事件直接导致矿工区块奖励从6.25 BTC锐减至3.125 BTC。同时,挖矿难度持续飙升,哈希率不降反升,到2025年5月1日达到831 EH/s。交易费用收入大幅下降,哈希价格从2024年4月的0.12美元骤降至2025年4月的约0.049美元。高昂的能源成本和持续的设备升级需求,使得许多矿企的利润空间被挤压。Bit Digital在2025年第一季度比特币挖矿收入同比下降64%至780万美元,挖出的比特币数量更是锐减80%至83.3枚,正是行业困境的缩影。
与比特币挖矿的困境形成鲜明对比的是,以太坊在2022年完成“合并”(The Merge)后,已成功从工作量证明(PoW)转向权益证明(PoS)。这一转变使其能源消耗降低了99.95%,成为更具可持续性和环境友好性的选择,从而吸引了寻求稳定收益和降低运营成本的机构投资者。
Bit Digital的战略大转向:一场1.5亿美元的豪赌
募资细节与以太坊布局
Bit Digital此次通过以每股2美元的价格发行7500万股普通股,成功募集1.5亿美元。承销商还拥有30天的超额配售选择权,可额外购买1125万股。这笔募资对现有股东造成了显著的股权稀释:在发行前(截至2024年9月),Bit Digital已发行股本为1.2805亿股,新增的7500万股意味着流通股增加了58.5%,现有股东股权被稀释近37%。值得注意的是,此次募资所得将“专门用于购买以太坊”,而非运营增长或债务削减。这使得公司在战略转型后“100%暴露于以太坊价格波动”,其财务健康和股价表现将与ETH的估值直接挂钩。如此大规模的股权稀释,且资金用途单一,表明Bit Digital管理层对以太坊的未来表现抱有极高信心。
Bit Digital的转型决心还体现在其彻底的资产转换计划上。公司计划将其截至2025年3月31日持有的417.6枚比特币(价值约3450万美元)逐步转换为以太坊,并出售或清算其全球比特币挖矿业务,包括在美国、加拿大和冰岛的设施,所得净收益也将重新投入ETH。这意味着Bit Digital将成为一家“纯粹的以太坊质押和资金管理公司”。
Bit Digital 转型前后核心财务与资产对比

告别比特币挖矿:为何选择“断舍离”?
Bit Digital选择彻底告别比特币挖矿,是对行业深层困境的理性回应。2024年比特币减半后,挖矿盈利能力显著收紧,Bit Digital在2025年第一季度仅挖出83.3枚比特币,同比下降80%。比特币挖矿的“高能耗”和“资本密集型”特性,使其在市场波动和减半冲击下变得不可持续。挖矿需要持续投入新硬件并面临不断上涨的运营成本,而以太坊质押则“依赖更便宜的机器和更低的能源消耗”,从而显著降低了运营成本和环境足迹。例如,以太坊PoS系统的能源消耗比PoW降低了99.95%,其能耗水平可与一个小镇而非一个国家相媲美。Bit Digital的转型,不仅是应对财务压力,更是顺应了加密行业从“能源消耗型”PoW向“资本效率型”PoS的宏观趋势,旨在实现“增长与可持续性”的双重目标。这种转变反映了加密行业内部价值观的演变:过去算力竞争是核心,现在资本效率和环境可持续性成为新的竞争优势。
以太坊质押:新时代的“数字淘金”?
PoW与PoS之争:效率、收益与可持续性
Bit Digital的战略转型核心在于对比特币工作量证明(PoW)机制与以太坊权益证明(PoS)机制之间根本性差异的深刻理解。比特币的PoW机制以其强大的安全性和去中心化特性著称,但代价是巨大的能源消耗,每年耗电量高达67至240太瓦时,单笔交易能耗约为830千瓦时。这不仅带来环境问题,也使矿工承担高昂电力成本和专用硬件投资。
相比之下,以太坊“合并”后转向的PoS机制展现出惊人的能源效率。PoS系统通过验证者质押代币参与网络安全和交易验证,消除了能源密集型计算需求。以太坊能耗因此降低了99.95%,单笔交易能耗仅为50千瓦时。这种效率提升使其成为更可持续的区块链解决方案,也大大降低了运营成本,为寻求稳定收益和减少开销的公司提供了诱人选择。PoS机制提供了一种更具吸引力的盈利模式:质押者通过贡献网络安全获得被动收入,类似于银行存款利息。以太坊质押年化收益率通常在4%至7%之间,相比比特币挖矿的不可预测性,质押能够提供更稳定和可预测的现金流。
流动性质押衍生品(LSDs):解锁流动性新范式
传统的权益证明(PoS)质押存在一个固有缺点:质押代币通常需要被锁定一段时间,牺牲了资产流动性。例如,运行以太坊独立验证者节点需要质押至少32枚ETH,这笔资产在质押期间无法用于其他投资或交易。
流动性质押衍生品(LSDs)的出现提供了优雅的解决方案。LSDs允许用户在质押加密资产的同时,获得一个代表其质押资产的衍生代币(如以太坊的stETH)。这个衍生代币可以在去中心化金融(DeFi)生态系统中自由交易或用作抵押品,从而在赚取质押奖励的同时,保持了资金流动性。这种机制显著提高了资本效率,并降低了参与质押的门槛。2023年4月以太坊的“Shapella”升级激活了质押ETH提款功能,进一步推动了LSDs需求激增。LSDs解决了流动性困境,提高了资本效率,并降低了质押的进入壁垒,显著增强了以太坊生态系统对机构资本的吸引力。
机构视角:以太坊能否超越比特币?
在加密货币领域,关于以太坊能否在2025年超越比特币的讨论一直是焦点。贝莱德(BlackRock)首席执行官拉里·芬克(Larry Fink)曾将比特币视为“数字黄金”,但也强调了代币化对投资的革命性潜力,认为“每一种资产都可以被代币化”,这为以太坊作为可编程平台打开了大门。摩根大通(JPMorgan)分析师则认为比特币主导地位可能在2025年持续,归因于现货比特币ETF资金流入和公司购买计划。而MicroStrategy创始人迈克尔·塞勒(Michael Saylor)则以其坚定的“比特币优先”立场而闻名。富达数字资产则对比特币和以太坊的长期前景都持积极态度。这些观点折射出机构对加密资产的不同叙事:比特币作为价值储存,以太坊作为可编程平台和创新生态核心。
结论:加密行业“风向”的深层启示
Bit Digital的战略大转向,是加密货币行业“风向”转变的一个缩影,更是对市场动态和技术演进的勇敢回应。该公司从能源密集型、利润受挤压的比特币挖矿业务中毅然退出,转而全面拥抱以太坊质押,并积极拓展高性能计算和AI服务,这不仅是其自身的生存策略,也为其他面临类似困境的数字资产公司提供了重要的行业示范效应。
这一案例清晰地揭示了加密市场从“蛮荒生长”走向“精耕细作”的趋势。过去,算力竞争和“数字黄金”的叙事主导了市场。而现在,随着以太坊PoS机制的成熟,行业重心正转向资本效率、环境可持续性和可预测的收益。流动性质押衍生品(LSDs)等金融创新,进一步解锁了资产流动性,推动了DeFi生态的深度融合和应用场景的无限拓展。这表明,加密行业正在超越单纯的投机属性,向着更具实用价值、更精细化的金融工程和更广阔的应用领域发展。
展望未来,加密行业将继续聚焦于效率、可持续性与合规性的共振。技术创新将持续降低能耗,提升交易速度和可扩展性。同时,随着SEC等监管机构对质押等业务的逐步明确,机构投资者参与的信心将进一步增强。Bit Digital的豪赌,正是这些宏观力量在微观层面的一次集中体现。它的成败,不仅关乎一家公司的命运,更将为整个数字资产领域在不断演变的市场中如何适应、如何创新,以及如何实现长期成功,提供宝贵的经验和启示。加密世界的“风向”是否真的变了?Bit Digital的行动无疑投下了一块重磅石,激起了层层涟漪,值得我们持续关注和深入思考。

