Gate交割合约是一种以USDT(U本位)进行结算的合约交易,具有与永续合约相似的特点,用户可以根据市场行情的变化进行看涨或看跌的操作以实现盈利,然而交割合约设有特定的交割日期,无法进行长期持有,用户需在到期前主动平仓或等待系统结算,盈亏计算公式为仓位大小乘以合约乘数乘以(平仓价减去开仓价),合约乘数可在合约信息中查询,用户在操作时需注意,交割合约到达交割日期后将由系统自动结算,平仓价格以结算价格为准,计算结果不包含手续费,举例来说,若用户做空1,000张BTCUSDT0924合约,开仓均价为36416.75 USDT,而结算价格为37316.23 USDT,则该用户的亏损为89.948 USDT,所有权利归Gate所有。
Gate交割合约目前支持以USDT(U本位)进行结算的合约交易。
交割合约的特点与永续合约大致相同,可以根据市场行情变动来操作看涨或看跌以实现盈利,但是交割合约有交割日期,无法长期持有。
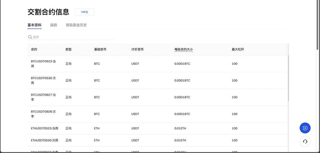
交割合约支持的合约类型可查看合约信息。如图:

USDT本位交割合约盈亏计算与永续普通正向合约计算公式一致
盈亏 = 仓位大小 x 合约乘数 x(平仓价 - 开仓价)
合约乘数可查询合约信息
注意
- 交割合约在到达交割日期之前用户自己主动平仓,平仓价格以成交价格为准.
- 交割合约到达交割日期后由系统结算,平仓价格以结算价格为准.
- 上述计算均不计入手续费。
以BTC_USDT0924·当季合约为例
用户做空1,000 张BTCUSDT0924·当季合约,通过合约信息可知该交易对合约乘数为0.0001 BTC,用户开仓均价为36416.75 USDT,假设结算价格或者平仓价格为37316.23 USDT。
则该用户此次合约交易的盈亏为:
-1000 x 0.0001 x(37316.23 - 36416.75)= - 89.948 USDT
即该用户亏损89.948USDT。
本产品最终解释权归Gate所有。

